5V1A³äµçÆ÷·½°¸
×ֺţºT|T
ÉîÛÚæê΢µç×Ó½üÆÚÍÆ³öÁ˵ͳɱ¾£¬Ð¡Ìå»ýµÄ5V1A³äµçÆ÷·½°¸-SF6022£¬´Ë¿îоƬÊÇÈüÍþ¿Æ¼¼ÌṩµÄ¡£
¸Ã·½°¸ÔÚÂú×ãÁËÆ½¾ùЧÂÊ´ïµ½ÄÜЧ6¼¶£¬¿É¹ýEMI,Ա߷´À¡£¬Ê¡È¥ÁË431ºÍ¹âñ½ÚÊ¡³É±¾£¬ÎÞÐèÍⲿ²¹³¥µçÈÝ£¬Í¬Ê±»¹¾ß±¸Á˶Ì·±£»¤¡¢¹ýѹ±£»¤ºÍ¿ª»·±£»¤µÈ±£»¤¹¦ÄÜ£¬ÊÇÒ»¿î×ÛºÏÐÔÄÜÖ¸±êÓÅÒìÐԼ۱ȸߵÄ5V 1A³äµçÆ÷·½°¸¡£
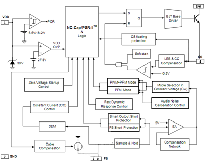
¿ò¼Üͼ
¿ò¼Üͼ

ÉÏһƪ£º ÄÜÌṩÈýÖÖ²»Í¬µçÁ÷µÄ³µ³äIC·½°¸ ÏÂһƪ£º5V1AÂóäоƬ-SD6953
Ïà¹Ø×ÊѶ
- DC-DC½µÑ¹IC
- Ñ¡¶ÔÈÆ·¨ ÇáËÉÍê³É½ÓµØ±äѹÆ÷ÈÝÁ¿¼ÆËã
- MOS¹ÜÃâÈÆÖÆ×ÔÖÆÄæ±äµçÔ´ÖÆÔì-æê΢µç×Ó
- UC3842¿ª¹ØµçÔ´µÄ¼ìÐÞ-æê΢µç×Ó
- ½â¶ÁÊ¿À¼Î¢µç×ÓIC²úÒµ·¢Õ¹Ç÷ÊÆ
- DialogÍÆ³öеçÔ´¹ÜÀí²úÆ· ½ø¾ü°×É«¼ÒµçÊÐ
- Ê¿À¼Î¢ÊÖ»ú³äµçÆ÷¡¢ÂÃÐгäµçÆ÷оƬ
- ÊÖ»úic¶ÔÃÔÄãÊÖ»ú³äµçÆ÷µÄ×÷ÓÃ
- LEDÕÕÃ÷Çý¶¯IC-æê΢µç×Ó
- ÉîÛÚæê΢¹«Ë¾2012ÄêÕ½ÂÔ·½Õë
ͬÀàÎÄÕÂÅÅÐÐ
- Ò»¿îÊÊÅäÆ÷µÄAC-DCת»»Ð¾Æ¬½éÉÜ-SD4873
- Ê¿À¼Î¢ÍƳöAC/DC 5V/1A³äµçÆ÷½â¾ö·½°¸SD69
- SF6773 650V¹¦ÂʵçÔ´ÊÖ»ú³äµçÆ÷оƬ
- оÁú12V/5A DC/DCµÍ³É±¾µçԴоƬ·½°¸-XL150
- NCEÏÖ»õn¹µµÀmos¹ÜNCE6003Y´Å³¡Ó¦¹ÜSOT23-3
- PN8368µçÔ´¹ÜÀíоƬÊÖ»ú³äµçÆ÷IC·½°¸
- 4842mos¹Üsop-8³¡Ð§Ó¦¹Ü30V / 7.7AË«N¹µµÀ
- ÓÅÊÆ¹©Ó¦PNPÐÍLMBT3946DW1T1Èý¼«¹Ü˫ͨÓÃSO
- Ê¿À¼Î¢ÍƳöAC-DCת»»Ð¾Æ¬-SD6830
- æê΢µç×Ó5Vת12VÉýѹоƬ-XL6019
×îÐÂÎÄÕÂ×ÊѶ
- ¾«²Ê»Ø¹Ë|æê΢µç×Ó2019ÄêÄê»áÔ²ÂúÂäÄ»£¡
- µçÔ´ÊÊÅäÆ÷оƬÄĸöºÃ?
- PN8370/PN8680оƬ¿ÉÌæ´ú0B2500µçÔ´´ú»»
- °º±¦Ôâ²¢¹ºÓö½·´Â¢¶ÏÉó²é£¬¹©Ó¦Á´´æÔÚ°²È«
- SD8530ASÄÚÖøßѹÈý¼«¹ÜµÄԱ߿ØÖÆ¿ª¹Øµç
- ʲôÊÇMOS¹ÜµÄÑ©±À¼°mos¹ÜÑ©±À»÷´©ÔÀí£¡
- µçÔ´icÖÖÀ࣬icоƬÖÖÀà´óÈ«!
- PN8680MÌæ´úOB2500POP½ÅλһÑù£¬ÎÞÐè¸Ä°åÊ¡
- HC5702W 10WÎÞÏß³äTxоƬÖúÁ¦·ÉÀûÆÖÎÞÏß³ä
- Ó¢ÌØ¶û14nmоƬ¶Ìȱ£¬Ê×´ÎѰÇóµÚÈý·½´ú¹¤³§
°¢Àï°Í°ÍµêÆÌ
¹Ø×¢æê΢
ÊÕ²Øæê΢

