PN8368µçÔ´¹ÜÀíоƬÊÖ»ú³äµçÆ÷IC·½°¸
×ֺţºT|T
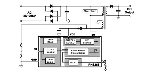
¡¡¡¡µçÔ´ic¾ÍÊÇÖ¸¿ª¹ØµçÔ´µÄÂö¿í¿ØÖƼ¯³É£¬µçÔ´¿¿ËüÀ´µ÷ÕûÊä³öµçѹµçÁ÷µÄÎȶ¨¡£ÊÖ»úÊǵçÔ´¹ÜÀíоƬ×îÎªÖØÒªµÄÓ¦Óó¡ºÏ£¬PN8368¼¯³É³¬µÍ´ý»ú¹¦ºÄ׼гÕñԱ߿ØÖÆÆ÷¼°650V¸ßÑ©±ÀÄÜÁ¦ÖÇÄܹ¦ÂÊMOSFET£¬ÓÃÓÚ¸ßÐÔÄÜ¡¢ÍâΧԪÆ÷¼þ¾«¼òµÄ³äµçÆ÷¡¢ÊÊÅäÆ÷ºÍÄÚÖõçÔ´¡£PN8368ΪԱ߷´À¡¹¤×÷ģʽ£¬¿ÉÊ¡ÂÔ¹âñîºÍTL431¡£ÄÚÖøßѹÆô¶¯µç·£¬¿ÉʵÏÖоƬ¿ÕÔØËðºÄ£¨230VAC£©Ð¡ÓÚ30mW¡£

¡¡¡¡
¡¡¡¡ÔÚºãѹģʽ£¬²ÉÓÃ׼гÕñÓë¶àģʽ¼¼ÊõÌá¸ßЧÂʲ¢Ïû³ýÒôƵÔëÉù£¬Ê¹µÃϵͳÂú×ã6¼¶ÄÜЧ±ê×¼£¬¿Éµ÷Êä³öÏß²¹³¥¹¦ÄÜÄÜʹϵͳ»ñµÃ½ÏºÃµÄ¸ºÔص÷ÕûÂÊ£»ÔÚºãÁ÷ģʽ£¬Êä³öµçÁ÷ºÍ¹¦ÂÊ¿Éͨ¹ýCS½ÅµÄRCSµç×è½øÐе÷½Ú¡£¸ÃоƬÌṩÁ˼«ÎªÈ«ÃæµÄÖÇÄܱ£»¤¹¦ÄÜ£¬°üº¬ÖðÖÜÆÚ¹ýÁ÷±£»¤¡¢¹ýѹ±£»¤¡¢¿ª»·±£»¤¡¢¹ýα£»¤¡¢Êä³ö¶Ì·±£»¤ºÍCS¿ª/¶Ì·±£»¤µÈ¡£

¡¡¡¡
¡¡¡¡ÔÚÖÇÄܵç×Ó²úÆ·ÖУ¬ÊÖ»ú¸øÓèÎÒÃǺܶàµÄ·½±ã£¬³ýÁËͨѶÕâ¸ö»ù±¾¹¦ÄÜÖ®Í⣬¹ºÎÔĶÁ£¬ÌýÒôÀֵȵÈÓéÀÖÐÝÏй¦ÄÜÒ²±äµÄÔ½À´Ô½ÖØÒª£¬ÉõÖÁ¿ÉÒÔ˵ÊÖ»úÊÇÏÖ´úÈ˱ر¸¹¤¾ß£¬ÓÉÓÚÊÖ»úÈí¼þʹÓÃÆµ·±£¬ËùÒÔÈËÃǶÔÊÖ»úµÄµçÁ¿ÐèÇóÒ²Ô½À´Ô½´ó£¬ÒªÇóÒ²ÊÇÔ½À´Ô½¸ß£¬æê΢µç×Ó´Ó³äµçÆ÷Éè¼Æµ½³äµç¹ÜÀíоƬ²úÆ·¸²¸Ç5-100WÒÔÄÚ¸÷ÀàµçÔ´²úÆ·£¬Í¬Ê±ÌṩµçÔ´²úÆ·Ó¦ÓÃÓëµçÔ´Éè¼Æ·þÎñ£¬ÎªÊÖ»ú³äµçÆ÷³§ÉÌÌṩÏà¹ØµÄµçÔ´IC·½°¸£¬¶ÔÓÚÆ·ÖÊ¡¢ÐÔÄܵȸ÷·½ÃæÒ²Ìá³öÁ˸ü¸ßÒªÇó¡£
ͬÀàÎÄÕÂÅÅÐÐ
- Ò»¿îÊÊÅäÆ÷µÄAC-DCת»»Ð¾Æ¬½éÉÜ-SD4873
- оÁú12V/5A DC/DCµÍ³É±¾µçԴоƬ·½°¸-XL150
- SF6773 650V¹¦ÂʵçÔ´ÊÖ»ú³äµçÆ÷оƬ
- PN8147ÄÚÖÃMOS¹ÜAC-DCµçÔ´ÊÊÅäÆ÷IC·½°¸Ð¾Åó
- Ê¿À¼Î¢ÍƳöAC/DC 5V/1A³äµçÆ÷½â¾ö·½°¸SD69
- NCEÏÖ»õn¹µµÀmos¹ÜNCE6003Y´Å³¡Ó¦¹ÜSOT23-3
- PN8368µçÔ´¹ÜÀíоƬÊÖ»ú³äµçÆ÷IC·½°¸
- µÍ³É±¾AC/DC¿ª¹ØLEDÇý¶¯Ð¾Æ¬-CS6553
- 4842mos¹Üsop-8³¡Ð§Ó¦¹Ü30V / 7.7AË«N¹µµÀ
- 60WÒÔÉÏÊÊÅäÆ÷·½°¸-sf5877
×îÐÂÎÄÕÂ×ÊѶ
- p-mos¹ÜÔõôѡÐÍ£¬pÐÍmos¹ÜÑ¡ÐÍ±í£¡
- 5W-65W³äµçÆ÷µçԴоƬ·½°¸¼°Ñ¡ÐÍ£¡
- ï®µç³Ømos¹Ü£¬30-40VµÍѹmosϵÁÐ!
- SVF4N65/SVF7N65/SVF10N65/SVF12N65³£Óøß
- оÅó΢20W~90W¿ì³äÌׯ¬·½°¸£¬ÁÁÏà2022ÑÇÖÞ
- ºÏ×÷¹²Ó®|æê΢µç×ÓÐøÇ©2022-2023ÄêоÅó΢´ú
- OB2281Ð¾Æ¬Ìæ´úÁÏCR6889B£¬»õÔ´¸üÎȶ¨£¡
- оÅó΢
- Ê¿À¼Î¢¡¢æê΢µç×Ó£º½ÓÁ¦¡ª¡ªÆëÐĺÏÁ¦´«µÝÆ·
- CR6900A_45w¿ì³äpdµçÔ´·½°¸
°¢Àï°Í°ÍµêÆÌ
¹Ø×¢æê΢
ÊÕ²Øæê΢

