È«²¿²úÆ··ÖÀà
¼¯³Éµç·IC
- ÓÅÊÆ²úÆ·
- Chipown/оÅó΢
- оÅóµç»úÇý¶¯Ð¾Æ¬
- SLAN/Ê¿À¼Î¢
- CR/Æô³¼Î¢
- FM/¸»ÂúϵÁÐ
- SF/ÈüÍþоƬ
- XL/оÁúϵÁÐ
- LW/æê΢
³¡Ð§Ó¦¹Ü/MOS/IGBT
¶þ¼«¹Ü
Èý¼«¹Ü
ÍÆ¼ö²úÆ·
ÁªÏµÎÒÃÇ
ÉîÛÚÊÐæê΢µç×ӿƼ¼ÓÐÏÞ¹«Ë¾
µç»°£º0755-23087599
ÊÖ»ú£º13808858392
ÓÊÏ䣺dunianhua@leweitech.com
µØÖ·£ºÉîÛÚÊб¦°²ÇøÎ÷Ïçº×ÖÞºã·á¹¤Òµ³ÇB11¶°5Â¥¶«
PN8016_5V0.3A¼Òµç·Ç¸ôÀëоƬ
ËùÊô·ÖÀࣺChipown/оÅó΢
Æ·ÅÆ£ºÐ¾Åó΢
ÐͺţºPN8016
·â×°£ºSOP7
¹¦ÂÊ£º1.5W
µçÁ÷£º300mA
ÐͺţºPN8016
·â×°£ºSOP7
¹¦ÂÊ£º1.5W
µçÁ÷£º300mA
¶©¹ºÈÈÏߣº0755-23087599
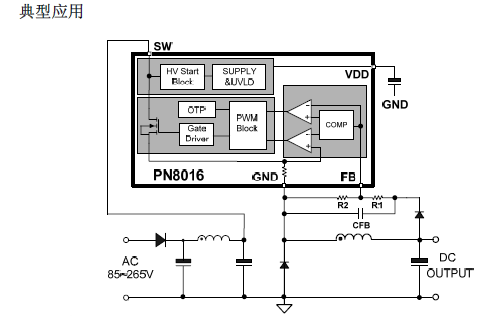
¡¡¡¡PN8016¼¯³ÉPFM¿ØÖÆÆ÷¼°800V¸ßÑ©±ÀÄÜÁ¦ÖÇÄܹ¦ÂÊMOSFET£¬ÓÃÓÚÍâΧԪÆ÷¼þ¼«¾«¼òµÄС¹¦ÂʷǸôÀ뿪¹ØµçÔ´£¬Êä³öµçѹ¿Éͨ¹ýFBµç×èµ÷Õû¡£PN8016ÄÚÖÃ800V¸ßѹÆô¶¯Óë×Ô¹©µçÄ£¿é£¬ÊµÏÖϵͳ¿ìËÙÆô¶¯¡¢³¬µÍ´ý»ú¡¢×Ô¹©µç¹¦ÄÜ¡£¸ÃоƬÌṩÁËÍêÕûµÄÖÇÄÜ»¯±£»¤¹¦ÄÜ£¬°üÀ¨¹ýÔØ±£»¤£¬Ç·Ñ¹±£»¤£¬¹ýα£»¤¡£ÁíÍâPN8016µÄ½µÆµµ÷ÖÆ¼¼ÊõÓÐÖúÓÚ¸ÄÉÆEMIÌØÐÔ¡£
¡¡¡¡
¡¡¡¡PN8016Ð¾Æ¬ÌØµã£º¡¡¡¡
¡¡¡¡¡ö ÄÚÖÃ800V¸ßÑ©±ÀÄÜÁ¦ÖÇÄܹ¦ÂÊMOSFET¡¡¡¡
¡¡¡¡¡ö ÄÚÖøßѹÆô¶¯ºÍ×Ô¹©µçµç·¡¡¡¡
¡¡¡¡¡ö ÊÊÓÃÓÚBuck¡¢Buck-Boost¡¢FlybackµÈ¶àÖּܹ¹¡¡¡¡
¡¡¡¡¡ö Êä³öµçѹ3.3V~18V¿Éͨ¹ýFBµç×èµ÷Õû¡¡¡¡
¡¡¡¡¡ö °ë·â±ÕʽÎÈ̬Êä³öµçÁ÷> 300mA @230VAC¡¡¡¡
¡¡¡¡¡ö ¸ÄÉÆEMIµÄ½µÆµµ÷ÖÆ¼¼Êõ¡¡¡¡
¡¡¡¡¡ö ÓÅÒìµÄ¸ºÔص÷ÕûÂʺ͹¤×÷ЧÂÊ¡¡¡¡
¡¡¡¡¡ö È«ÃæµÄ±£»¤¹¦ÄÜ¡¡¡¡
¡¡¡¡ ¹ýÔØ±£»¤£¨OLP£©¡¡¡¡
¡¡¡¡ ¹ýα£»¤£¨OTP£©¡¡¡¡
¡¡¡¡ Ƿѹ±£»¤£¨UVLO£©
¡¡¡¡pn8016Ó¦Óõç·ͼ
¡¡¡¡pn8016Ó¦Óõç·ͼ

¡¡¡¡PN8016оƬÄÚÖÃ800V¸ßѹÆô¶¯Óë×Ô¹©µçÄ£¿é£¬Êä³öµçѹ3.3V~18V¿Éͨ¹ýFBµç×èµ÷Õû£¬µäÐÍÓ¦ÓÃÓÚ5V0.3A¼Òµç·½°¸£¬¸ü¶àpn8016Êý¾ÝÊֲἰӦÓÃ×ÊÁÏ¿ÉÏòæê΢µç×ÓÉêÇë¡£>>
°¢Àï°Í°ÍµêÆÌ
¹Ø×¢æê΢
ÊÕ²Øæê΢










