È«²¿²úÆ··ÖÀà
¼¯³Éµç·IC
- ÓÅÊÆ²úÆ·
- Chipown/оÅó΢
- оÅóµç»úÇý¶¯Ð¾Æ¬
- SLAN/Ê¿À¼Î¢
- CR/Æô³¼Î¢
- FM/¸»ÂúϵÁÐ
- SF/ÈüÍþоƬ
- XL/оÁúϵÁÐ
- LW/æê΢
³¡Ð§Ó¦¹Ü/MOS/IGBT
¶þ¼«¹Ü
Èý¼«¹Ü
ÍÆ¼ö²úÆ·
ÁªÏµÎÒÃÇ
ÉîÛÚÊÐæê΢µç×ӿƼ¼ÓÐÏÞ¹«Ë¾
µç»°£º0755-23087599
ÊÖ»ú£º13808858392
ÓÊÏ䣺dunianhua@leweitech.com
µØÖ·£ºÉîÛÚÊб¦°²ÇøÎ÷Ïçº×ÖÞºã·á¹¤Òµ³ÇB11¶°5Â¥¶«
PN8034_12V·Ç¸ôÀëacdcоƬ
ËùÊô·ÖÀࣺChipown/оÅó΢
Æ·ÅÆ£ºÐ¾Åó΢
ÐͺţºPN8034
·â×°£ºDIP8
¹¦ÂÊ£º3.6W
µçÁ÷£º300mA
ÐͺţºPN8034
·â×°£ºDIP8
¹¦ÂÊ£º3.6W
µçÁ÷£º300mA
¶©¹ºÈÈÏߣº0755-23087599
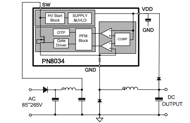
¡¡¡¡PN8034¼¯³ÉPFM¿ØÖÆÆ÷¼°650V¸ßÑ©±ÀÄÜÁ¦ÖÇÄܹ¦ÂÊMOSFET£¬ÓÃÓÚÍâΧԪÆ÷¼þ¼«¾«¼òµÄС¹¦ÂʷǸôÀ뿪¹ØµçÔ´¡£PN8034·Ç¸ôÀëacdcоƬÄÚÖøßѹÆô¶¯Ä£¿é£¬ÊµÏÖϵͳ¿ìËÙÆô¶¯¡¢³¬µÍ´ý»ú¹¦ÄÜ¡£¸ÃоƬÌṩÁËÍêÕûµÄÖÇÄÜ»¯±£»¤¹¦ÄÜ£¬°üÀ¨¹ýÁ÷±£»¤£¬Ç·Ñ¹±£»¤£¬¹ýα£»¤¡£ÁíÍâPN8034µÄ½µÆµµ÷ÖÆ¼¼ÊõÓÐÖúÓÚ¸ÄÉÆEMIÌØÐÔ¡£
¡¡¡¡
¡¡¡¡pn8034µçÔ´Ð¾Æ¬ÌØÕ÷¡¡¡¡
¡¡¡¡¡ö ÄÚÖÃ650V¸ßÑ©±ÀÄÜÁ¦ÖÇÄܹ¦ÂÊMOSFET¡¡¡¡
¡¡¡¡¡ö ÄÚÖøßѹÆô¶¯µç·¡¡¡¡
¡¡¡¡¡ö ÓÅ»¯ÊÊÓÃÓÚ12VÊä³ö·Ç¸ôÀëÓ¦Óá¡¡¡
¡¡¡¡¡ö DIP-7·â×°°ë·â±ÕʽÎÈ̬Êä³ö¹¦ÂÊ3.6W @230VAC¡¡¡¡
¡¡¡¡¡ö SOP-7·â×°°ë·â±ÕʽÎÈ̬Êä³ö¹¦ÂÊ3.0W @230VAC¡¡¡¡
¡¡¡¡¡ö ¸ÄÉÆEMIµÄ½µÆµµ÷ÖÆ¼¼Êõ¡¡¡¡
¡¡¡¡¡ö ÓÅÒìµÄ¸ºÔص÷ÕûÂʺ͹¤×÷ЧÂÊ¡¡¡¡
¡¡¡¡¡ö È«ÃæµÄ±£»¤¹¦ÄÜ£º¹ýÁ÷±£»¤£¨OCP£©¡¢¹ýα£»¤£¨OTP¡¢Ç·Ñ¹±£»¤£¨UVLO£©
¡¡¡¡
¡¡¡¡·â×°¼°µäÐ͹¦ÂÊ

| ²úÆ·ÐͺŠ| ÊäÈëµçѹ | ÎÈ̬¹¦ÂÊ | ·åÖµ¹¦ÂÊ |
| PN8034 SOP-7 | 150-265 VAC | 3W(12V250mA) | 4.2W(12V350mA) |
| 85-265 VAC | 2.4W(12V200mA) | 3.6W(12V300mA) | |
| PN8034 DIP-7 | 150-265 VAC | 3.6W(12V300mA) | 4.8W(12V400mA) |
| 85-265 VAC | 3.0W(12V250mA) | 4.2W(12V350mA) |
¡¡¡¡
¡¡¡¡µäÐÍÓ¦ÓÃ

¡¡¡¡
¡¡¡¡Ó¦ÓÃÁìÓò¡¡¡¡
¡¡¡¡¡ö ·Ç¸ôÀ븨ÖúµçÔ´
¡¡¡¡
¡¡¡¡PN8034µçԴоƬÊÇ¿íÊä³ö·¶Î§·Ç¸ôÀë½»Ö±Á÷ת»»Ð¾Æ¬£¬µäÐÍÓ¦ÓÃÓÚ12V·Ç¸ôÀëÊä³ö ¾ßÓÐÁ¼ºÃµÄÌØÐÔÌáÉýÕû»úϵͳµÄÎȶ¨ÐÔ£¬½µµÍÕû»úʧЧÂÊ£¬¹ã·ºÓ¦ÓÃÓÚ¼ÒµçµçÔ´¡¢´ý»úµçÔ´µÈÁìÓò£¬¸ü¶àPN8034_12V·Ç¸ôÀëacdcоƬ²úÆ·ÊֲἰӦÓÃ×ÊÁÏÇëÏòæê΢µç×ÓÉêÇë¡£>>
°¢Àï°Í°ÍµêÆÌ
¹Ø×¢æê΢
ÊÕ²Øæê΢










